Микросхема cd4060 описание и схема включения

Микросхема cd4060 описание и схема включения
Красивый автоматический светодиодный ночник, схема и описание (CD4060, CD4511)
Зарядное устройство для шуруповёрта: принцип работы, схемы, доработка
Цифровой лабораторный секундомер на 0,01-99 секунд (CD4060, 74C926)
Автомат для циклического обнуления или прерывания питания (CD4060)
Картинки 4060 ПОДКЛЮЧЕНИЕ
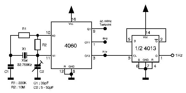
Rozwiązano Jak uzyskać 1Hz na Q1 i Q2 łącząc CD4060 z CD4013 jako multiwibrator
Микросхема cd4060 описание и схема включения
Схема автоматического устройства управления освещением (CD4060)
Схемы на микросхеме cd4060
Таймер для включения нагрузки через 1-9 часов (CD4060, CD4017)
Electronic Circuit Diagram: CD4060
Таймер от 1 до 120 минут на CD4060
Схема таймера для полива растений на микросхемах CD4060
Знакомьтесь,микросхема HCF4060.Полный обзор,все что надо знать про этот ЧИП Моло
4060 driver: найдено 70 картинок
Схема автомата для капельного полива растений (CD4060)
Микросхема cd4060 описание и схема включения
Cd4060 двоичный счетчик со встроенным генератором. описание, распиновка
Схема таймера для ограничения времени работы зарядного устройства (CD4060, К561И
Простые генераторы частоты 50-120hz на микросхемах cd4060
Схема таймера для фотоэкспозиции (CD4060B, CD4040)
Electronique Realisations Base de temps 002
Картинки 4060 ПОДКЛЮЧЕНИЕ
Cd4060be схема реле времени
Какую 4060 брать: найдено 88 изображений
Простые генераторы частоты 50-120hz на микросхемах cd4060
Микросхема 4060 описание и схема включения
Микросхема cd4060 описание и схема включения
Принципиальная схема ночника на трехцветных светодиодах с общим катодом на микро
Схемы на микросхеме cd4060
Звуковой сигнализатор с периодическим сигналом (CD4060, КТ3102)
Схемы на микросхеме cd4060
Cd1517cs схема включения микросхема
Схемы на микросхеме cd4060
Простой интервальный таймер на к561ие16 . схема и описание
Микросхема 4060 описание и схема включения
Микросхема cd4060 описание и схема включения
Схема автомата управляющего освещением " Светодиоды и электронные схе
Low frequency signal generator(2Hz.4Hz.60Hz,120Hz) Low_Frequency_Signal_Genera
Схема реле времени для управления скважным электронасосом
Простой таймер до 34 минуты (точность установки 1сек) или до 136 минут (точность
Простые самоделки для автомобилиста на микросхеме CD4060B
таймер " Страница 2 " Схемы электронных устройств
Самодельное реле времени для вентиляции помещений (220В, CD4060)
Таймер от 1 до 120 минут на CD4060
Простые генераторы частоты 50-120hz на микросхемах cd4060
Схемы на микросхеме cd4060
Radiotech modding labs: Генераторы секундных импульсов
Cd4060Be схема включения: Автоматический выключатель иллюминации, схема на CD406
Electronique Realisations Base de temps 001
Простые генераторы частоты 50-120hz на микросхемах cd4060
Cd4060 двоичный счетчик со встроенным генератором. описание, распиновка
Схема реле с установкой интервалов работы, выполнена на микросхемах CD4060, CD40
Cd4060 аналог фото и видео
Схема простой светодиодной мигалки для ёлочной игрушки (CD4060B)
Схема самодельного реле времени, управляемого звуком (CD4001, CD4060)
Hc4060 схема включения
Схема датчика наличия сигнала звуковой частоты (NE5534N, CD4060)
Картинки 4060 ПОДКЛЮЧЕНИЕ